로고

전기 없이도
냉장고는
돌아갑니다

[그림 1] 모하메드 바 아바가 개발한 ‘항아리 속 항아리’ 냉장고 

글_ 박헌균 ㈜솔라리노 대표, 한국전자통신연구원 책임연구원 


시원한 음료수가 생각나는 여름입니다. 어디에서나 전기를 쓸 수 있는 우리나라에서는 냉장고를 사용하기 쉽지만, 전기의 사용이 어려운 환경이라면 어떻게 음식이나 음료를 시원하게 보관할 수 있을까요? 냉장고는 아니지만 냉장고와 비슷한 원리의 적정기술을 이용할 수 있습니다. 

 



나이지리아의 ‘항아리 속 항아리’ 냉장고 

냉장고는 전동펌프로 냉매 기체를 압축하여 액화시킨 뒤에, 액화된 냉매를 증발시킵니다. 보통 액체가 증발하면 주변의 열을 빼앗아 가기 때문에 주변이 시원해지는 것이지요. 냉장고의 냉매는 아니지만, 물도 증발할 때 마찬가지로 주변의 열을 빼앗아 갑니다. 더운 여름날, 마당에 물을 뿌리면, 주변이 시원해지는 것을 느낄 수 있는데요, 바로 이러한 이유 때문

입니다.

[그림 1]의 ‘항아리 속 항아리(Pot in pot)’ 냉장고는 이처럼 물을 증발시켜서 시원하게 만드는 원리를 이용합니다. 나이지리아의 교사인 모하메드 바 아바(Mohammed Bah Abba)가 개발했다고 합니다. 습기가 투과하는 질그릇 항아리 두 개를 겹쳐두고, 그 사이를 모래로 채운 뒤에 모래를 물로 적셔 둡니다. 보관하고자 하는 음식은 안쪽 항아리 속에 보관합니다. 모래에 있는 물이 증발하면서, 항아리와 음식물을 식히게 됩니다. 물의 증발이 잘 될수록 냉각 효과가 높아지기 때문에, 항아리를 바람이 잘 통하는 곳에 보관하고, 위쪽을 젖은 헝겊으로 덮어서 물이 더 잘 증발하게 만들기도 합니다.

 


[그림 2] 질그릇 소재로 만든 냉장고, 미티 쿨


아인슈타인도 개발한 전기가 필요없는 냉장고 

인도의 도예가 만수크 프 라 자 파 티 ( M a n s u k h Prajapati)는 이러한 항아리 냉장고와 같은 원리이지만, 보다 현대적인 냉장고 디자인의 미티 쿨(Mitti cool) 냉장고를 개발하였습니다. 미티(Mitti)는 힌디어로 흙이라는 뜻입니다. [그림 2]와 같이, 질그릇 소재로 냉장고 형태를 만들고, 투명 문을 부착해서 냉장고 속 내용물이 보이도록 하였습니다. 냉장고 위쪽에 물을 담는 부분이 있어서, 여기에 물을 담으면, 질그릇 소재의 냉장고 전체가 젖어 들고, 물이 증발되면서 식혀주는 방식입니다. 앞의 항아리 냉장고와 마찬가지로 물이 잘 증발할수록 냉각이 잘되므로, 바람이 잘 통하도록 하여 성능을 높일 수도 있습니다. 적정기술이라고 하기에는 좀 복잡하긴 하지만, 아인슈타인(Albert Einstein)도 실라르드 (Leo Szilard)와 함께 전기가 필요 없는 냉장고를 발명하기도 했습니다. 이 경우에는 냉매로 물 대신 액체부탄을 사용했고, 전기 대신에 열에너지를 사용했습니다. 

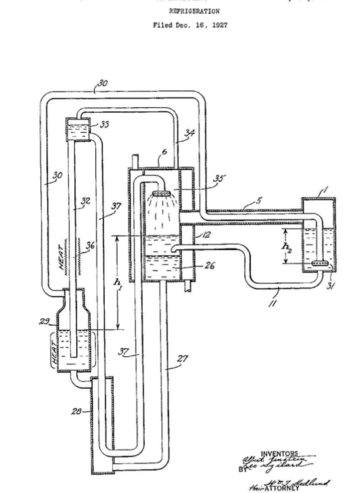
[그림 3]은 아인슈타인이 출원했던 냉장고 특허 도면입니다. 왼쪽 통에서 암모니아수를 가열해서 암모니아 기체를 내보내고, 이 기체를 오른쪽 통의 액체부탄에 통과시키면서 부탄을 증발시켜, 온도를 낮춥니다. 암모니아 기체는 가운데 통에서 다시 물속에 녹아들어가면서 암모니아수가 되어 재활용되지요.

 


[그림 3] 아인슈타인이 출원했던 냉장고 특허 도면


지금 바로 사용 가능한 적정기술은?

혹시 아인슈타인 냉장고의 구조가 너무 복잡해서, 독자분의 머리를 덥게 해드렸나요? 그런데 하필이면 냉장고 속 음료수가 떨어져서 지금이라도 한 병 넣고, 빨리 식혀서 드시고 싶으신가요? 그런 경우라면, 음료수 캔에 휴지나 헝겊을 두르고 물에 살짝 적신 채로 냉동실에 넣어 보세요. 적신 물이 증발하면서, 열을 빼앗아 가기 때문에, 그냥 음료수병만 넣었을 때 보다 빨리 차갑게 됩니다. 현대적인 전기냉장고를 사용하는 우리들도 사용할 수 있는 적정기술이지요. 적정기술과 함께 독자 여러분 모두 시원한 여름 보내시길 바랍니다.